BS架构国密门禁综合管理软件
快速操作指南
添加区域
【系统管理】工作站→【行政区域】。点击【新增】按钮,自定义填写区域代码、区域名称。若是建立二级区域先点击区域目录的顶级区域在进行新增二级区域即可。
添加设备
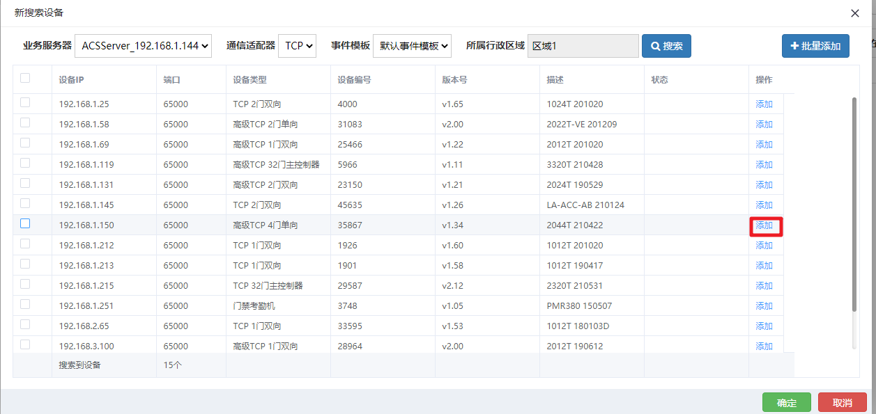
【设备管理】→【门禁设备管理】→【新增】→【搜索】
选择对应的设备点击【添加】按钮完成添加。
设备管理
【设备管理】→【门禁设备管理】选中设备,上方可对设备进行操作管理。
门点管理
【门禁设备管理】→【>】展开门点,选中门点,点击【编辑】按钮。
添加设备【设备管理】→【门禁设备管理】→【新增】→【搜索】
选择对应的设备点击【添加】按钮完成添加。
设备管理【设备管理】→【门禁设备管理】选中设备,上方可对设备进行操作管理。
门点管理【门禁设备管理】→【>】展开门点,选中门点,点击【编辑】按钮。


添加机构(部门)
【用户管理】工作站→【机构管理】。点击【新增】按钮,自定义填写机构名称,填入机构编码,上级机构自定义选择。
添加人员
添加人员【用户管理】工作站→【用户管理】→【已建立的XXX组织架构】,点击【新增】按钮。

人员发卡
【用户管理】→【已建立的xxx部门】选中人员,点击【卡片管理】→【加卡】

卡片管理
【用户管理】工作站→【用户管理】→【已建立的XXX组织架构】,选中人员后点击【卡片管理】可以对卡片进行挂失、注销、暂停等操作。
删除人员
删除人员【用户管理】工作站→【用户管理】→【已建立的XXX组织架构】,选中人员后点击【删除】按钮。

建立权限组
【门禁管理】工作站→【权限组管理】→【已建立的XXX区域】。点击【新增】按钮,新建一个权限组。

人员授权
在【门禁管理】→【用户门禁授权】→【批量授权】选中【增加授权】项,再选择人员和人员需要的权限组后,点击确定即可完成授权。

删除授权
【门禁管理】→【人员门禁授权】→【批量授权】。选中【增加授权】项,再选择人员和需要删除权限组后,点击确定即可完成授权。

门禁事件记录查询
【门禁管理】→【门禁事件记录】→【查询】即可查询到事件记录。也可通过选择时间段、区域、机构、门禁设备、门点、或输入用户名进行精准查询事件记录。

数据库定期自动备份
到【系统管理】工作站--【数据库管理】点击【自动备份配置】按钮,勾选【启用】可选每周或每月进行备份,可自定义某天和某个时间点进行自动备份。配置完毕后系统将会按照配置进行自动备份。

备份选项
根据需求进行数据自动备份的选项

数据自动清理
此处可以配置数据库备份文件的自动清理。一般门禁事件、门禁数据下载记录、门禁报警事件不需要配置。

用户密码管理策略
打开【通用字典】-【系统参数】-用户密码策略,点击编辑

